

产品展示
谐波减速17c一起草谐波减速机17c一起草是一种专业为谐波减速机而生的配套17c一起草。谐波减速器17c一起草包括刚性17c一起草和柔性17c一起草两大类型。刚性17c一起草又分为四种系列,CSF系列、CSG系列、SHG系列、SHG系列,刚性17c一起草采用国际上谐波减速器的命名方式命名。谐波减速机配套交叉滚子17c一起草,根据其使用场合分为外圈分体、内圈整(CSF/CSG系列)和外圈和内圈整体(SHF/SHG系列)两大类。滚动体为圆柱滚子,分布于互成90°垂直排列在V型滚道中。这种结构使得单个17c一起草就可以同时承受轴向载荷、径向载荷和倾覆力矩等各个方向的载荷,17c一起草具有很高的刚度、旋转精度以及复合承载能力;该类17c一起草外形紧凑,17c一起草自带有安装孔,便于客户直接安装,适合于各种不同类型的谐波减速机。

|
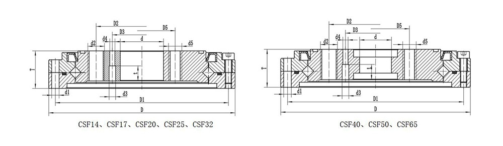
17c一起草型号 |
17c一起草尺寸(mm) | 额定载荷(KN) | 重量 | |||||||||||||
| d | D | T | D1 | D2 | D5 | D3 | d1 | d2 | d5 | d3 | d4 | t | Cr | Cor | Kg | |
| CSF(CSG)14 | 9 | 55 | 16.5 | 49 | 23 | 14.5 | 15.5 | 8-Ф3.5 | 6-M4 | 6-M3 | 2-Ф3 | ---- | ---- | 4.6 | 5.1 | 0.25 |
| CSF(CSG)17 | 10 | 62 | 16.5 | 56 | 27 | 17.5 | 17.5 | 10-Ф3.5 | 6-M5 | 6-M4 | 2-Ф3 | ---- | ---- | 5.2 | 6.4 | 0.27 |
| CSF(CSG)20 | 14 | 70 | 16.5 | 64 | 32 | 24 | 19 | 12-Ф3.5 | 8-M6 | 8-M5 | 4-Ф3 | 4-Ф2.8 | 7 | 6.1 | 8.4 | 0.36 |
| CSF(CSG)25 | 20 | 85 | 18.5 | 79 | 42 | 30 | 26 | 16-Ф3.5 | 8-M8 | 8-M6 | 4-Ф3 | 4-Ф2.8 | 7 | 11.2 | 16 | 0.65 |
| CSF(CSG)32 | 26 | 112 | 22.5 | 104 | 55 | 40 | 34 | 16-Ф4.5 | 8-M10 | 8-M8 | 4-Ф5 | 4-Ф4.7 | 10 | 18.5 | 28.3 | 1.1 |
| CSF(CSG)40 | 24 | 126 | 24 | 117 | 68 | 50 | 42 | 20-Ф5 | 8-M10 | 8-M8 | 4-Ф5 | ---- | ---- | 18.9 | 30.7 | 1.6 |
| CSF(CSG)50 | 32 | 157 | 31 | 147 | 84 | 60 | 50 | 16-Ф5.5 | 8-M14 | 8-M14 | 4-Ф5 | ---- | ---- | 42.8 | 67.7 | 3.6 |
| CSF(CSG)65 | 44 | 210 | 39 | 198 | 110 | 80 | 64 | 20-Ф6.5 | 8-M16 | 8-M16 | 4-Ф6 | ---- | ---- | 67.7 | 114.9 | 7.8 |