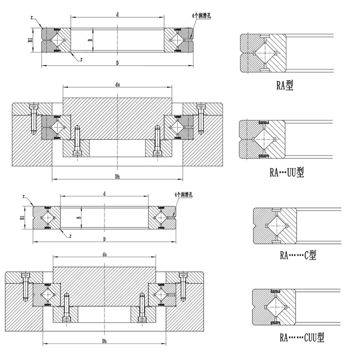
RA 产品题材(外环朋分型,内环扩张用):此产品题材17c一起草是将RB型内、外环规格减低到极限法的松软型。适合于需信噪比轻、松软构想的器官,列如刷卡机人与刷卡机手扩张器官。
轴径 | 型号 | 首要尺寸 (mm) | 靠肩尺寸 |
根基的额外负荷 (径向) |
分量 | ||||||||
内径 | 外径 | 滚子节圆直径 | 宽度 | 油 孔 | 倒角 | ||||||||
C | C0 | ||||||||||||
d | D | dp | B/B1 | a | b | r min | ds | Dh | kN | kN | kg | ||
50 | RA5008 | 50 | 66 | 57 | 8 | 2 | 0.8 | 0.5 | 53.5 | 60.5 | 5.1 | 7.19 | 0.08 |
60 | RA6008 | 60 | 76 | 67 | 8 | 2 | 0.8 | 0.5 | 63.5 | 70.5 | 5.68 | 8.68 | 0.09 |
70 | RA7008 | 70 | 86 | 77 | 8 | 2 | 0.8 | 0.5 | 73.5 | 80.5 | 5.98 | 9.8 | 0.1 |
80 | RA8008 | 80 | 96 | 87 | 8 | 2 | 0.8 | 0.5 | 83.5 | 90.5 | 6.37 | 11.3 | 0.11 |
90 | RA9008 | 90 | 106 | 97 | 8 | 2 | 0.8 | 0.5 | 93.5 | 100.5 | 6.76 | 12.4 | 0.12 |
100 | RA 10008 | 100 | 116 | 107 | 8 | 2 | 0.8 | 0.5 | 103.5 | 110.5 | 7.15 | 13.9 | 0.14 |
110 | RA 11008 | 110 | 126 | 117 | 8 | 2 | 0.8 | 0.5 | 113.5 | 120.5 | 7.45 | 15 | 0.15 |
120 | RA 12008 | 120 | 136 | 127 | 8 | 2 | 0.8 | 0.5 | 123.5 | 130.5 | 7.84 | 16.5 | 0.17 |
130 | RA 13008 | 130 | 146 | 137 | 8 | 2 | 0.8 | 0.5 | 133.5 | 140.5 | 7.94 | 17.6 | 0.18 |
140 | RA 14008 | 140 | 156 | 147 | 8 | 2 | 0.8 | 0.5 | 143.5 | 150.5 | 8.33 | 19.1 | 0.19 |
150 | RA 15008 | 150 | 166 | 157 | 8 | 2 | 0.8 | 0.5 | 153.5 | 160.5 | 8.82 | 20.6 | 0.2 |
160 | RA 16013 | 160 | 186 | 172 | 13 | 2.5 | 1.6 | 0.8 | 165 | 179 | 23.3 | 44.9 | 0.59 |
170 | RA 17013 | 170 | 196 | 182 | 13 | 2.5 | 1.6 | 0.8 | 175 | 189 | 23.5 | 46.5 | 0.64 |
180 | RA 18013 | 180 | 206 | 192 | 13 | 2.5 | 1.6 | 0.8 | 185 | 199 | 24.5 | 49.8 | 0.68 |
190 | RA 19013 | 190 | 216 | 202 | 13 | 2.5 | 1.6 | 0.8 | 195 | 209 | 24.9 | 51.5 | 0.69 |
200 | RA 20013 | 200 | 226 | 212 | 13 | 2.5 | 1.6 | 0.8 | 205 | 219 | 25.8 | 54.7 | 0.71 |
80 | RA8008C | 80 | 96 | 87 | 8 | 1.5 | 1.5 | 0.5 | 83.5 | 90.5 | 6.37 | 11.3 | 0.11 |
90 | RA9008C | 90 | 106 | 97 | 8 | 1.5 | 1.5 | 0.5 | 93.5 | 100.5 | 6.76 | 12.4 | 0.12 |
100 | RA 10008C | 100 | 116 | 107 | 8 | 1.5 | 1.5 | 0.5 | 103.5 | 110.5 | 7.15 | 13.9 | 0.14 |
110 | RA 11008C | 110 | 126 | 117 | 8 | 1.5 | 1.5 | 0.5 | 113.5 | 120.5 | 7.45 | 15 | 0.15 |
120 | RA 12008C | 120 | 136 | 127 | 8 | 1.5 | 1.5 | 0.5 | 123.5 | 130.5 | 7.84 | 16.5 | 0.17 |
130 | RA 13008C | 130 | 146 | 137 | 8 | 1.5 | 1.5 | 0.5 | 133.5 | 140.5 | 7.94 | 17.6 | 0.18 |
140 | RA 14008C | 140 | 156 | 147 | 8 | 1.5 | 1.5 | 0.5 | 143.5 | 150.5 | 8.33 | 19.1 | 0.19 |
150 | RA 15008C | 150 | 166 | 157 | 8 | 1.5 | 1.5 | 0.5 | 153.5 | 160.5 | 8.82 | 20.6 | 0.2 |
160 | RA 16013C | 160 | 186 | 172 | 13 | 2 | 2 | 0.8 | 165 | 179 | 23.3 | 44.9 | 0.59 |
170 | RA 17013C | 170 | 196 | 182 | 13 | 2 | 2 | 0.8 | 175 | 189 | 23.5 | 46.5 | 0.64 |
180 | RA 18013C | 180 | 206 | 192 | 13 | 2 | 2 | 0.8 | 185 | 199 | 24.5 | 49.8 | 0.68 |
190 | RA 19013C | 190 | 216 | 202 | 13 | 2 | 2 | 0.8 | 195 | 209 | 24.9 | 51.5 | 0.69 |
200 | RA 20013C | 200 | 226 | 212 | 13 | 2 | 2 | 0.8 | 205 | 219 | 25.8 | 54.7 | 0.71 |